泊头市天达联轴器有限公司专注从事联轴器、减速机及支架的研究、生产。我们各种设备多样, 技术力量优良,生产各种类型联轴器,产品主要有:各种联轴器配件 、膜片联轴器 、轻型万向节联轴器 、重型万向节联轴器 、梅花弹性联轴器 、螺旋弹性联轴器。详细 
| 地址: | 泊头市工业区 |
| 网址: | www.cztdlzq.com |
| 邮箱: | bttdlzq@163.com |



一、产品概述
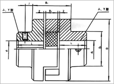
滑块联轴器的滑块呈圆环形,用钢或合金制成,利用中间滑块在其两侧半联轴器端面的相应径向槽内滑动,以实现两半联轴器联接,主要适用于转速较低,传递转矩较大的传动。
二、产品结构
滑块联轴器由两个在端面上开有凹槽的半联轴器和一个两面带有凸牙的中间盘组成,凸牙可在凹槽中滑动,可补偿安装及运转时两轴间的相对位移, 滑块作为一个传递扭矩元件通常由工程塑料制成,情况下可选择其它材料。
三、产品特点
1、滑块联轴器零件的材料可用45钢,工作表面需要进行热处理,以提高其硬度;
2、半联轴器与中间盘组成移动副,不能发生相对转动,所以主动轴与从动轴的角速度应相等,选用时应注意其工作转速不得大于规定值;
3、 滑块通过两边呈90°相对分布的卡槽和两侧的轴套联接在一起,从而达到传递扭矩的目的;
4、 滑块和轴套之间用微小的压力进行吻合,能使联轴器在设备运转中具有零间隙运转;
5、滑块联轴器常用于一般常用电机,个别的场合也可以用来联接伺服电机,在使用过程中通过 滑块的滑动来纠正相对位移。
| 型号 | 公称转矩Tn(N.m) | 许用转速[n]r/min | 轴孔直径 | 轴孔长度 | D | D1 | B1 | B2 | l | 转动惯量Kg.m2 | 质量kg | |
| d1 d2 | Y | J1 | ||||||||||
| L | ||||||||||||
| mm | ||||||||||||
|
WH1 |
16 | 10000 |
10,11 12,14 |
25-32 | 22-27 | 40 | 30 | 52 | 13 | 5 | 0.0007 | 0.6 |
|
32-42 |
27-30 |
|||||||||||
| WH2 |
31.5 | 8200 |
12,12,16,(17),18 |
50 | 32 | 56 | 18 | 5 | 0.0038 | 1.5 | ||
|
WH3 |
63 | 7000 |
16,(17),18,20,22 |
42-52 |
30-38 |
70 | 40 | 60 | 18 | 5 | 0.0063 | 1.8 |
|
52-62 |
38-44 |
|||||||||||
| WH4 |
160 | 5700 |
20,22,24,25,28 |
80 | 50 | 64 | 18 | 8 | 0.013 | 2.5 | ||
|
WH5 |
280 | 4700 |
25,28,30,32,35 |
62-82 |
44-60 |
100 | 70 | 75 | 23 | 10 | 0.045 | 5.8 |
|
82-112 |
60-84 |
|||||||||||
| WH6 |
500 | 3800 |
30,32,35,38,40,42,45 |
120 | 80 | 90 | 33 | 15 | 0.12 | 9.5 | ||
|
WH7 |
900 | 3200 |
40,42,45,48,50,55 |
112 | 84 | 150 | 100 | 120 | 38 | 25 | 0.43 | 25 |
|
112-142 |
84-107 |
|||||||||||
| WH8 |
1800 | 2400 |
50,55,60,63,65,70 |
190 | 120 | 150 | 48 | 25 | 1.98 | 55 | ||
|
WH9 |
3550 | 1800 |
65,70,75,80,85 |
172-212 |
132-167 |
330 | 190 | 180 | 58 | 40 | 4.9 | 85 |
|
172-212 |
132-167 |
|||||||||||
| WH10 |
5000 | 1500 |
80,85,90,95,100 |
330 | 190 | 180 | 58 | 40 | 7.5 | 120 | ||