泊头市天达联轴器有限公司专注从事联轴器、减速机及支架的研究、生产。我们各种设备多样, 技术力量优良,生产各种类型联轴器,产品主要有:各种联轴器配件 、膜片联轴器 、轻型万向节联轴器 、重型万向节联轴器 、梅花弹性联轴器 、螺旋弹性联轴器。详细 
| 地址: | 泊头市工业区 |
| 网址: | www.cztdlzq.com |
| 邮箱: | bttdlzq@163.com |


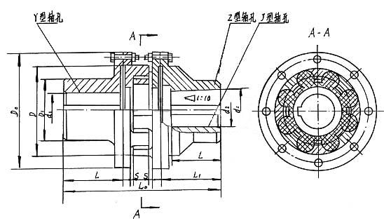
LMZ-Ⅱ(原MLL-Ⅱ)型带制动轮梅花弹性联轴器是由两个带凸爪形状相同的半联轴器和弹性元件组成,利用梅花形弹性元件置于两半联轴器凸爪之间,以实现两半联轴器的联接。具有补偿两轴相对偏移、 减振、缓冲、径向尺寸小、结构简单、不用润滑、承载能力较高、维护方便等特点,但 换弹性元件时两半联轴器需沿轴向移动。适用于联接两同轴线、起动频繁、 正反转变化、中低速、中小功率传动轴系、要求工作性高的工作部位,不适用于重载及轴向尺寸受限制、 换弹性元件后两轴线对中困难的部位。
1.LMZ-I型分体式制动轮梅花形弹性联轴器主要由两个带凸齿密切啮合并承受径向挤压以传递扭矩,当两轴线有相对偏移时,弹性元件发生相应的弹性变形,起到自动补偿作用。
2.梅花形弹性联轴器主要适用于起动频繁、正反转、中高速、中等扭矩和要求高性的工作场合,例如:冶金、矿山、石油、化工、起重、运输、轻工、纺织、 水泵、风机等。工作环境温度 -35℃~+80℃,传递公称扭矩25~12500Nm,许用转速1500~15300r/min。
3.与其它梅花联轴器相比,梅花形弹性联轴器具有以下特点:
(1)工作稳定,具有良好的减振、缓冲和电绝缘性能。
(2)结构简单,径向尺寸小,重量轻,转动惯量小,适用于中高速场合。
(3)具有较大的轴向、径向和角向补偿能力。
(4)聚氨酯弹性元件耐油,承载能力大,使用寿命长, 。
(5)联轴器无需润滑,维护工作量少,可连续长期运行。
标准修订后,梅花形弹性元件的材料有聚氨脂和铸形尼龙两种。根据不同工况条件选用不同材料,如风机、水泵、轻工、纺织等工作平稳、载荷变化不大时,可选用聚氨脂。两种材料的价格相差较大。
MLL-Ⅱ 型带制动轮梅花形弹性联轴器基本性能参数和主要尺寸
